关于就业推荐表、协议书、档案转寄信息和户口信息填写等相关问题(填写指南在附件请一定要下载照着填写)
a漫
简历制作系统教你写出亮眼简历!//mp.weixin.qq.com/s/chmHXgEv70J0iS0a1UnRdA
就业推荐表说明
【就业都需要,请尽量提前集体办理,不要等公司提出时才着急办】
就业推荐表是学校为了帮助毕业生就业,专门向用人单位提供的一份正式推荐学生的材料,推荐表能证明该生的毕业身份、专业、培养方式等等。推荐表对毕业生、用人单位都很重要,请同学们妥善保管。
毕业生就业推荐表只有一份,丢失不能补办,确定工作签三方协议时对方如要才给原件。签约过程中的意向性用人单位可提供推荐表复印件
1、 填写注意事项:表格中所有空格一般都要填写,尽量不要有空格,特别要认真写自我鉴定(思想、学习、实践、公益)等,兴趣爱好栏,填写时请认真,如:钢琴、围棋、舞蹈、足球等,不要随意填写。自我鉴定不少于200字(思想、学习、实践、公益)等。
2、 就业老师一般会及时审核推荐表,特别着急才联系就业助理或就业老师,然后自己打印好(A4双面打印),一般按就业老师通知的时间统一到基础教学楼A109处签字,再到A108盖院章,最后到学校就业指导中心(中心食堂2楼)盖就业中心的章。
3、 研究生就业推荐表导师意见填写时,请导师简单写下评语,可以多写几句,不要仅仅写同意推荐。
4、 本科生所学课程一定要多填,注意一空格只填一个科目,之前有同学,在一个空格里面填了几个科目是错误的。下图的这个同学就很认真,供参考。

一、《协议书》的签订
1、a漫
毕业生就业签约使用《四川省普通高等学校毕业生就业协议书》(以下简称《协议书》)由四川省教育厅统一定制格式,为两方协议,由招聘单位签字盖章、应聘毕业生签字后生效。
2、用人单位、毕业生和学校各留存一份;若需寄送,请用人单位直接寄给学生本人。
二、《协议书》的管理
1、本协议书一式三份,由学校统一编号,每个编号与毕业生一一对应,毕业生的协议书将采用网上填写签约信息,由学生本人自行打印的方式。
2、签约双方须认真履行协议中的条款和相关约定,原则上不得违约,如有特殊情况,学生首先应向学院负责就业老师汇报,须征得学院和用人单位同意,在未取得用人单位出具的书面解除就业协议的函件前,学校不受理违约申请事宜。
特别提醒:学生和就业单位私下签订的两方协议一样具备法律效益,原则上也是不得违约。
3.毕业生应树立契约意识,慎重签约。就业协议书签订之后,学生必须认真履行协议中的条款和相关约定;学生与用人单位签订劳动合同或其他形式就业协议时也必须认真履行相关约定。
4.毕业生应妥善保存个人的就业协议书,一旦遗失需向学院或签约单位联系,间协议书复印保存;毕业生打印协议书后,如果未能签约成功,需要提供单位证明或学院老师向单位核实的电话记录证明。
三、如何生成并打印协议书,如何完成签约?
目前建议大家都暂不使用网签功能,还是填写就业去向(见附件就业系统学生端使用指南)之后生成并打印协议书,邮寄的方式签约,因为这个传统流程才需要学院审核把关,同时也会避免盲目签约的发生,有邮寄的时间差,千万避免违约。
毕业去向的证明材料,签约前只需要上传offer,可以证明被录用的材料都行(如短信offer、邮件截图、录用名单的照片或盖章的录用函等都行),但是协议书寄回后,一定要换成盖章后的协议书(直接拍照协议书的正反面)。
请详细阅读就业网上《就业系统学生端使用指南》,与HR交流后认真填写就业去向,提交审核之后就可以直接打印协议书,不需要等审核通过。协议书都是打印3份(一般是用A3纸双面打印),自己签字之后就生效(都是不需要学校盖章的,除非个别很特别的单位一定要盖章,就在封面直接盖就业处的章,盖章情况详见后续),然后寄给公司,单位盖章寄回来之后,立刻更新就业证明材料:上传盖章之后的协议书所有页面替换之前的offer,更新了就业证明材料后,还必须核实自己所填派遣、档案信息一定要正确,最后请务必将一份协议书交给A109就业老师审核(一般是毕业当年4月,届时会通知统一时间到办公室审核),如果是个别网签的同学,不用带协议书,但是也需要填写档案和户口信息之后到办公室审核,这样签约手续才算完成。
四、关于协议书盖学校就业处章的问题
2010年7月,四川省教育厅发布了“四川省教育厅关于启用《四川省普通高等学校毕业生就业协议书》的通知”,里面提到了“一、《四川省普通高等学校毕业生就业协议书》(以下简称“协议书”)由甲方(用人单位)和乙方(高校毕业生)在双向选择基础上共同签订,学校不再作为单独一方参与协议书的签订工作。”所以:
1、校发协议书如单位没有特殊要求,就业中心不予以盖章;
2、公司一定要求要盖章,一定要学生签字和单位盖章都完成之后,才能在封面盖就业中心的章;
3、特殊情况,比如单位一定要学校盖章后才跟学生签约,需要学生到就业指导中心来签写《关于毕业生申请协议书加盖就业中心公章的承诺书》后交就业中心留存,学生在协议书上签字,并将背面的“其他约定内容(备注)”栏信息补充,没有的划掉后,就业中心可以在封面盖章!
盖章请直接到中心食堂2楼就业指导中心服务大厅盖章,不需要先到学院。
五、关于毕业去向撤销的问题
没有特殊原因不得随意点击撤销,确实有特殊原因(如:没有与单位签约、毕业去向类别选择错误等),需主动联系学院就业老师,老师根据具体情况处理,否则不予办理。如果仅仅是公司相关信息填写错误,是可以联系学院就业老师修改的,不应该走撤销流程。
六、档案转寄信息和户口信息填写
【温馨提示】
a、填写毕业去向和填档案、户口信息是毕业前每一个同学必须完成的手续,档案和户口毕业时都是必须离校的。
b、档案由学校根据各位同学填写的信息统一寄送(大概7月初或7月中旬),户口在川大的拿到户口迁移证后毕业时自己办理,。
c、毕业去向为:升学(国内)、西部计划、公派出国、国际组织的,不签发报到证,报到证签发类别:不签报到证。
d、就业到深圳、上海、北京的同学更是要慎重填写派遣、档案转寄和户口信息,是回生源地还是如何到确定后才填,要核实一下公司所发信息。


【说明】如上图所示,填了就业协议书的同学如果系统里填了报到证和档案内容,但是协议书打印出来是空的,属于正常,系统专门这样设置的。打印出来寄过去就好了。最后报到证派遣信息和档案转寄信息等,是以各位同学核实之后在就业系统里面填的为准,所以每一个同学都必须在毕业前到A109现场审核,时间尽量按照谢老师群里通知的为准。
1、关于档案转寄信息【务必准确】
(1)就业类别档案转寄信息
先和HR沟通,然后根据情况自己确认后才填,一定要核实,否则派遣会有问题。注意:【档案转寄联系人】这个一定要问,不要乱填。
A、如果签约单位可以接收档案(国企、事业单位、机关的),档案转寄单位为签约单位;
B、如果签约单位不能接收档案(多数为一些大型企业)但是委托某人才中心集体委托存档,那么档案转寄单位就填该人才中心的相关信息。
C、其他情况(部分公司,以及去向为出国、自由职业等),则填某个愿意接收你档案的人才交流中心(自己百度查找后电话联系),如:单位当地的能够联系上愿意接收的市区县人才中心,或生源地的市区县人才中心。需毕业生本人自行联系各地可托管自己档案的人才中心或者生源地的人才中心进行存档。
常见成都市的各级人才中心联系方式(请点击后面这个黄色链接):针对想留成都的同学:毕业了,个人档案该放哪儿?请点击,其他城市也类似去找。
(2)其他类别参考下面两张图


(3)档案改寄和毕业后及时查询到档信息(非常重要)
毕业生需在3个月内到档案接收单位核查自己的档案,按档案管理单位要求办理报到手续。如档案未到,可通过档案馆网站或微信平台查询EMS单号,在中国邮政速递物流网站或EMS客服电话11183查询档案签收情况。
档案自交寄之日起一年内受理查询,逾期邮政不再受理查询。
档案改寄和毕业后查档详见://mp.weixin.qq.com/s/sYtxC5tXRLq_PL1jPouMfQ
档案参考:毕业生须知!档案处理全攻略!
//jy.acartoon.net/index/index/newsdetail.html?data=MDAwMDAwMDAwMJG6n3_Ed6imi4qQtbR5id-Jupm7yoivebSGo8-BoYSokM-ffq-cpNebeojSt2Oimg
//mp.weixin.qq.com/s?__biz=MzU4NTM1ODg4OA==&mid=2247487934&idx=1&sn=d9beec4ce3ae6016c9d1a93b741515ed&chksm=fd8a9af9cafd13ef2c134f619b95eb300c081a49ccf1b4fe10a3bab134385bb03ca0363fba86&mpshare=1&scene=23&srcid=0525R3VbJLXPFPoKx1K8OSmE&sharer_sharetime=1685068425562&sharer_shareid=87642b5a08249c8b6d772f000ebb1dd1#rd
2、国内升学的同学先填就业去向,有调档函之后再填派遣和档案、户口,档案信息请一定要填写到具体哪个学院!如北京大学a漫
,a漫
物理学院等,不能只写北京大学。收档单位和收档部门都是XX大学XX学院。
【注意】一定要核实报到信息和档案信息准确,否则派遣会出错,升学的同学档案接收单位一定要具体到学院,如本校本院:
a漫
,档案转寄联系人:XX老师(如2023届是何惠老师),地址:四川省成都市一环路南一段24号,联系电话:028-85463875。
如果录取学校有表格需要填你档案所在地址和机构:四川省成都市一环路南一段24号,a漫
档案馆。
升学的同学一定要将之前盖章签字的表替换为调档函(本校的除外),还没有调档函的同学尽快问录取的学校,盖了章的PDF就行,如果还是不行,先问清楚填好档案转寄信息,自己负责核实,然后到办公室来审核,最后调档函一定第一时间上传。

3、国外升学的同学,有高校录取通知书后马上填写就业去向,并上传录取通知书。出国升学的同学,派遣、档案、户口一般回原籍,自己电话联系生源地的市区县人才中心(一般可以百度到相关电话)填写,特殊的也可自己联系愿接受的地方(比如留成都,参考本文就业相关)。
4、自由职业的同学,上传盖章的自由登记表。派遣、档案、户口一般回原籍,自己电话联系生源地的市区县人才中心(一般可以百度到相关电话)填写,特殊的也可自己联系愿接受的地方(比如留成都,参考本文就业相关)。
5、户口迁转单位和地址:
未迁入学校的毕业生选择未迁入学校即可;
户口迁入川大的,一定要迁出,主动联系接收单位和地址才能填,要填准确。户口主要涉及今后结婚、买房、生育、子女教育等。
户口迁转地址可以是:
①单位所在地,需咨询签约单位HR,户口是否可迁入单位;
②生源地(入学前户口);
③某地的人才中心入集体户,各地落户政策需咨询当地相关部门。
户口办理是需要自己或委托他人拿着毕业时发的户口迁移证等证件到当地派出所办理。
常见的:(1)升学到国内高校(问高校老师),(2)迁回原籍(入学前户口详细地址)。(3)落户成都,加微信公众号:成都公安微户政,超全攻略详见链接:
//mp.weixin.qq.com/s/NazCQ9TGSDuTIxdJycxaDQ
(4)想落户其他城市参考成都户政,找到当地户政链接。
还可以参考就业网a漫相关参考信息
如果还不能解决,那么:学院谢老师电话:13541349419,就业中心电话:028-85407860。
七、关于违约及办理
原则上学校不允许违约(慎重签约,一般都不违约,除非去基层就业(县级以下)、公务员选调、参军、自主创业等)特殊情况,违约对毕业生、用人单位、学校都会带来相应的损失。特殊情况只允许违约一次,并将保留其违约记录,且是在明年4、5月份左右统一办理。
【杜绝】这样的思想:先签一个保底,然后更好的来了再违约。公司一般都会给一个签约时间,如果不签怕错过机会,这种情况很普遍,所以千万不要因为怕签约时间要到了而盲目签约哈,一定是认定了(从地点、行业、薪酬等综合考虑成熟)才签约。
要考公务员的同学,签订协议时:所签单位如果同意考上公务员不收违约金,尽量写在协议上,否则在执行的时候,可能要交违约金。曾经就有同学因为没有写进协议,公司最开始口头同意可以不给违约金,但是最后执行的时候违约金给了2万,特此提醒。违约条款例子如图:

【违约办理流程】一般是3月提出,然后4、5月份办理,如因单位原因要提前的特殊情况电话联系谢老师。
1、必须先填写解约申请表(见本文附件或川大就业网下载中心)——找谢老师和廖书记审批(一般是早上8点半-9点,这个时间廖书记在的可能性较大),并写《违约反思》电子版(300字左右,描述清楚为什么签约?又为什么违约?明确两个单位的薪酬、岗位、地点等情况,如果重新来过是否可以避免?)然后及时发给谢老师微信;
2、办理已签约单位盖章的解约函(盖章的PDF或盖章的纸质版);
3、凭解约函和新Offer+原三方协议(3份,如果确实公司遗失等无法拿回来,公司一定要解约函上面写明)联系谢老师到109办公室线下办理。
4、线上提交(把解约函、新单位的接收函、解约申请表做成一张图片)在就业网上撤销或违约—电话谢老师通过审核后就可以填写新协议了。
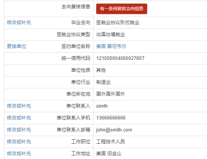
八、出国出境工作去向登记,请选择协议书就业。第一项组织机构代码必填可以先填无。然后选择出国出境工作。在填写详细内容的时候,出国出境工作有默认的组织机构代码,其他信息根据提示填写,单位所在地全部选择国外。

最终毕业前一定要将最终的证明材料上传更新(就业协议盖章后要替换之前的Offer、升学的要用调档函替换之前的签字表等)
附件1: 高校毕业生毕业去向界定及标准 在职的同学,走签劳动合同就业,证明材料:盖章的工作证或劳动合同或盖章的在职证明。 |
分类 |
分类界定 |
证明材料 |
就业 |
1.签就业协议形式就业 |
(1)与就业单位签订省级就业部门统一制定的就业协议书,且盖有单位人力资源(人事)部门公章或单位行政公章 |
签订的省级就业部门统一制定的就业协议书或相关制式协议书 |
(2)具有人事调配权限的单位出具的接收毕业生及其人事关系(档案、户口、党团组织关系等)的录用接收函 |
用人单位出具的录用接收函 |
(3)定向、委托培养毕业生回原定向、委托培养单位就业 |
毕业生与定向委培单位签订的定向、委培协议 |
(4)部队招收士官或文职人员 |
招收士官或文职人员协议书 |
(5)医学规培生 |
毕业生与规培基地签订的协议书 |
(6)国际组织任职 |
国际组织出具的接收材料 |
(7)出国、出境就业 |
国(境)外用人单位出具的接收证明或出国签证文件 |
2.签劳动合同形式就业 |
毕业生与用人单位签订劳动合同 |
毕业生与用人单位签订劳动合同 |
3.科研助理、管理助理 |
指被高校、科研机构或企业聘用作为博士后、科研辅助研究、实验技术、技术经理人、学术助理、财务助理等,包含以下两种情况 |
(1)科研助理、管理助理 |
高校、科研机构或企业出具的证明,薪酬需达到当地最低工资标准 |
(2)博士后入站 |
劳动(聘用)合同、协议书、接收函、商调函、《博士后研究人员备案证明》 |
4.应征义务兵 |
应征义务兵 |
预定兵通知书或入伍通知书 |
5.国家基层项目 |
(1)特岗教师 |
录用单位出具的录用文件或有关部门出具的接收证明 |
(2)三支一扶 |
(3)西部计划 |
6.地方基层项目 |
(1)特岗教师 |
录用单位出具的录用文件 |
(2)选调生 |
(3)农技特岗 |
(4)乡村医生 |
(5)乡村教师 |
(6)其它 |
7.其他录用形式就业 |
用人单位不签订就业协议或劳动合同,仅提供聘用证明、工资收入流水等证明材料 |
用人单位出具的聘用证明或毕业生本人提供的工资收入证明、收入流水或学生本人亲笔签名(正楷)并加盖用人单位公章的《a漫
其他录用形式就业证明登记表》等其他证明材料,薪酬需达到当地最低工资标准 |
8.自主创业 |
指创立企业(包括参与创立企业),或是企业的所有者、管理者。包括个体经营和合伙经营两种类型,包含以下三种情况 |
(1)创立公司(含个体工商户) |
《a漫
自主创业登记表》,登记表需学生本人亲笔签名(正楷)、创立企业的工商执照、股权证明或其他证明材料 |
(2)在孵化机构中创业,暂未注册或注册当中 |
《a漫
自主创业登记表》,登记表需学生本人亲笔签名(正楷)、与孵化机构签订的协议或孵化机构提供的证明材料 |
(3)电子商务创业,利用互联网平台从事经营活动,如开设网店等 |
《a漫
自主创业登记表》,登记表需学生本人亲笔签名(正楷)、网店网址、网店信息截图和收入流水 |
9.自由职业 |
指以个体劳动为主的一类职业,如作家、自由撰稿人、翻译工作者、中介服务工作者、某些艺术工作者、互联网营销工作者、全媒体运营工作者、电子竞技工作者等 |
《a漫
自由职业登记表》,登记表需学生本人亲笔签名(正楷)、相关证明材料,由学院确认属实后,签字盖章,薪酬需达到当地最低工资标准 |
升学 |
10.升学 |
(1)研究生 |
拟录取名单(学生签字,学院盖章)、录取院校调档函或录取通知书 |
(2)第二学士学位 |
(3)专科升普通本科 |
11.出国、出境 |
毕业生出国、出境深造 |
国(境)外高校录取通知书 |
未就业 |
12.待就业 |
(1)求职中:正在择业,尚未落实工作单位 |
|
(2)签约中:已确定就业意向,准备正式签订协议或合同 |
|
(3)拟参加公招考试:准备参加公务员、事业单位公开招录考试 |
|
(4)拟创业:准备创业,尚未在工商行政管理部门注册登记,拟创立的实体尚未开始实际运营 |
|
(5)拟应征入伍:准备应征入伍,尚未被批准 |
|
13.不就业拟升学 |
准备升学考试,暂不打算就业 |
|
14.其他暂不就业 |
(1)暂不就业:暂时不想就业等无就业意愿的毕业生 |
|
(2)拟出国出境:准备出国出境学习或工作 |
|